Профессиональное телевизионное оборудование

 
 
 

 

Продукция по семействам

 

Продукция по категориям

 

Главная >  Преобразователи 12G...  >  PBX-GB-722

 

Мультиплексор/демультиплексор 12G/6G/3G SDI сигналов (Gearbox)
PBX-GB-722

 

 

Мультиплексор / демультиплексор сигналов 12G/6G/3G SDI PBX-GB-722 (далее по тексту - преобразователь) преобразует между 3G-SDI, 6G UHD-SDI и 12G UHD-SDI с использованием режимов MUX (мультиплексор), DeMUX (демультиплексор) и Bypass (распределитель сигналов 1 на 4):

MUX/ DeMUX mode:

  • Quad Link 3G-SDI <=> Single Link 12G UHD-SDI + Fiber;

  • Dual Link 6G UHD-SDI <=> Single Link 12G UHD-SDI + Fiber;

  • Dual Link 3G-SDI (ST 425-3) <=> Single Link 6G UHD-SDI + Fiber;

Bypass mode:

  • Single Link 12G,6G,3G SDI => 4 CH Single Link 12G,6G,3G SDI + Fiber;

  • Dual Link 6G,3G SDI =>  Dual Link 6G,3G SDI;

 

Имеется слот для установки оптического SFP видео. Оптический вход/выход используется в режимах Single Link на входе или на выходе.  Оптический SFP модуль может быть одноканальным (на вход или выход) или двухканальным (на вход и выход) и позволяет производить замену модуля, не выключая устройство. Кроме того, он позволяет получить информацию о мощности излучения на входе приемника, выходе передатчика и длине волны на выходе передатчика.

Оптический SFP модуль в состав не входит. Тип модуля SFP заказывается отдельно.

 

Блок ввода/вывода может использоваться в одно-, двух- и многоканальных системах.

Длины волн лазерного излучения оптических передатчиков:

  • в одноканальных системах  (1310±20)нм   /либо  (1550±20)нм  по заказу/;

  • в двухканальных системах (WDM)  –  (1310±20) нм  и  (1550±20) нм;

  • в многоканальных системах (CWDM)  –  в диапазоне 1270¸1610 нм с шагом 20 нм
    (шифр блока с индексом CW##,  где ## – длина волны лазера CWDM)

 

В блоках можно использовать SFP модуль с APD фотодиодом, что обеспечивает повышенную чувствительность устройства по оптическому входу.

 

Преобразователь PBX-GB-722 размещается в компактном корпусе (100x105x33,5 мм).

 

Преобразователь предназначен для круглосуточной работы в стационарном помещении с температурой окружающего воздуха от +5 до +45оС, относительной  влажности не более 80% при температуре 25оС, атмосферном давлении 750±30 мм рт. ст.

 

Функциональные возможности:

  • мультиплексор сигналов SDI;

  • демультиплексор сигналов SDI;

  • распределитель сигналов SDI 1 на 4;

  • индикация наличия сигнала на входах SDI IN (4..1);

  • автоматическое определение стандарта входного сигнала SDI;

  • оптический или электрический вход/выход (Single Link).

Технические характеристики тракта

  Входы:

Вход SDI IN4…1:

Поддерживаемые стандарты

см. MUX Mode SMPTE Compatibility

см.  DEMUX Mode SMPTE Compatibility

Разъемы

BNC

Входное сопротивление

75 Ом

Автоматическая коррекция кабеля

(Belden 1694A)

12G - до 50 м;

6G - до 80 м;

3G - до 120 м;

HD - до 150 м.

 

MUX Mode SMPTE Compatibility:

MUX Mode

Supported SMPTE Mapping

Input

Output

Input Mapping

Output Mapping

DL 3Gb/s

SL 6Gb/s

ST425-3 1080-line Level A Mapping,

ST425-3 2160-line Mapping

ST2081-10 1080-line Mode 2,

ST2081-10 2160-line Mode 1

QL 3Gb/s

 

SL 12Gb/s

ST425-5 2160-line Level A Mapping

ST2082-10 2160-line Mode 1

DL 6Gb/s

 

SL 12Gb/s

ST2081-11 2160-line Mode 1,

ST2081-11 1080-line Mode 2

ST2082-10 2160-line Mode 1,

ST2082-10 1080-line Mode 2

 

DEMUX Mode SMPTE Compatibility:

DEMUX Mode

Supported SMPTE Mapping

Input

Output

Input Mapping

Output Mapping

SL 6Gb/s

DL 3Gb/s

ST2081-10 1080-line Mode 2,

Not Supported ……………

ST2081-10 2160-line Mode 1

ST425-3 1080-line Level A Mapping,

ST425-3 1080-line Level B DL Mapping,

ST425-3 2160-line Mapping

SL 12Gb/s

 

DL 6Gb/s

ST2082-10 2160-line Mode 1,

ST2082-10 1080-line Mode 2

ST2081-11 2160-line Mode 1,

ST2081-11 1080-line Mode 2

SL 12Gb/s

 

QL 3Gb/s

ST2082-10 2160-line Mode 1,

Not Supported

ST425-5 2160-line Level A Mapping,

ST425-5 2160-line Level B Mapping

 

Оптический вход Rx:

Поддерживаемые стандарты

см. MUX Mode SMPTE Compatibility

см.  DEMUX Mode SMPTE Compatibility

Разъемы

SFP/ LC

Диапазон спектральной чувствительности

1200 нм - 1610 нм

Диапазон чувствительности (3.0 Гбит)

Модель без APD фотодиода: (-3…-24)  дБм;

Модель APD фотодиодом:     (-9…-28)  дБм;

 

 

Выходы:

 

Выход SDI OUT4...1:

Поддерживаемые стандарты

см. п. 1.2.2.1.1.1  

см. п. 1.2.2.1.1.2  

Разъёмы

BNC

Выходное сопротивление

75 Ом

 Размах

800мВ±10%

Джиттер

менее 0.2UI (единичного интервала)

 

Оптический выход Tx:

 

                 Система

Параметры

Одноканальная

Двухканальная
(WDM)

CWDM
(индекс ‘CW’ в шифре)

Лазерный диод типа

FP

FP

DFB

Длина волны

1310±20 нм  или
1550±20 нм (по заказу)

1310±20 нм   и
1550±20 нм

от 1270 до 1610 нм
с шагом 20 нм

Выходная оптическая мощность

0..3 дБм

0..3 дБм

0..3 дБм

Тип оптического разъема

SFP/LC 

SFP/LC 

SFP/LC 

 

 

 

Потребляемая мощность:   не более 5 Вт

Питание……………………… +9…17,0В

Адаптер питания…………… +12В @ 1A.

Диапазон рабочих температур:  от 5 до 45°С.

Время непрерывной работы:  24 часа.

Габаритные размеры:  100x105x33,5 мм.

Масса:  не более 0,5 кг.

 

 

Общее устройство и принцип действия

Преобразователь серии ”ProBox”  PBX-GB-722 выполнен в малогабаритном автономном корпусе.

 

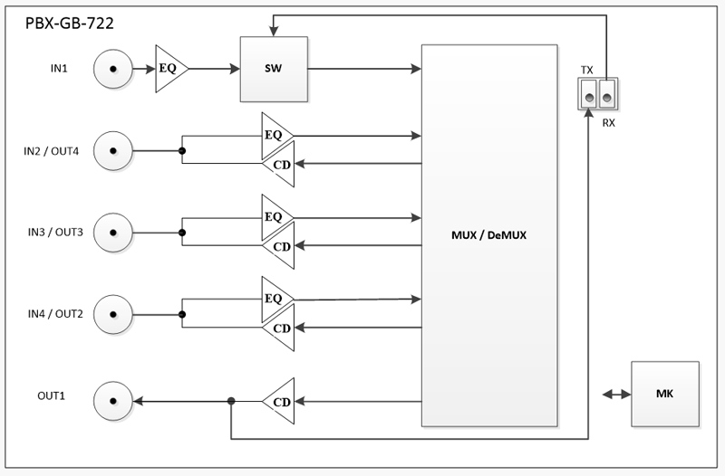
 Структурная схема преобразователя

 

В режиме мультиплексора сигнал с входов SDI IN1..4 поступает на кабельный корректор (EQ), затем проходит через блок восстановления тактовой частоты (Reclocker) и поступает на мультиплексор (MUX), где преобразуется в один или два выходных сигнала SDI. С выхода мультиплексора SDI сигналы через кабельный буфер поступают на выход SDI OUT1 и 2  и оптический выход Tx (для режима с одним выходом).

В режиме демультиплексора сигналы с входов SDI IN1..2 поступает на кабельный корректор (EQ), затем проходят через блок восстановления тактовой частоты (Reclocker). SDI IN1 поступает на входной коммутатор SW, на который также поступает сигнал с оптического входа Rx (для режима с одним выходом). После коммутатора выбранный сигнал поступает на демультиплексор (DeMUX), где преобразуется в 4 или 2 выходных сигнала SDI. С выхода демультиплексора SDI сигналы через кабельные буферы поступают на выходы SDI OUT1..4.

В режиме обхода сигнал с входа SDI IN1 или оптического входа Rx (Single Link) проходит на все 4-е выхода. Сигналы Dual Link 6G,3G SDI проходят на соответствующие выходы без изменений.

Стандарт выходного сигнала определяется автоматически в зависимости от входного стандарта и выбранного режима преобразования.

Управление режимами работы производится с панели управления. Также на индикаторе отображается статус входных сигналов.

 

Вид фронтальной панели преобразователей серии PBX-GB-722 

 

 

Справа расположен  графический дисплей. Слева от  графического дисплея размещены кнопки управления:

  • MODE+/-         – выбор параметра регулировки или переключения режима работы устройства (выбор пункта меню);

  • DOWN/UP       – уменьшение/увеличение значения параметров регулировок или включения нужного режима работы.

При одновременном нажатии на кнопки DOWN и UP регулируемый параметр устанавливается в номинальное значение.

Индикаторы на передней панели блока:

  • INPUTS 1/2/3/4      - горят зеленым при наличии соответствующего входного сигнала.

  • POWER           - горит красным при подключении напряжения питания.

 Разъемы:

  • POWER           - для подключения адаптера питания 12В;

  • TX                    - оптический выход SDI;

  • RX                    - оптический вход SDI.

  

Вид задней панели преобразователей серии PBX-GB-722

 

 

Светодиоды, расположенные рядом с разъемами отображают вход или выход:

  • SDI IN/OUT     - если светодиод горит зеленым – данный разъем установлен на вход, красным – на выход, не горит – вход не активен.

Конструктивное исполнение

 Конструктивно преобразователь выполнен в малогабаритном автономном корпусе с размерами 100х105х33,5 мм.

В состав устройства входит выносной адаптер питания 12V@1A.

 

Установка режимов устройства PBX-GB-722

Страница INPUT1   - информация о входном сигнале на входе SDI IN1 или оптическом Rx;

 

Страница INPUT2   - информация о входном сигнале на входе SDI IN2;

 

Страница INPUT3   - информация о входном сигнале на входе SDI IN3;

 

Страница INPUT4   - информация о входном сигнале на входе SDI IN4;

 

Страница SFP           - информация о длине волны и мощности излучения SFP.

 

Страница MODE     - выбор режима работы блока:

 

Q3G=>S12G   - Quad Link 3G-SDI => Single Link 12G UHD-SDI (MUX);

S12G=>Q3G - Single Link 12G UHD-SDI => Quad Link 3G-SDI (DeMUX);

 

D6G=>S12G   - Dual Link 6G UHD-SDI =>  Single Link 12G UHD-SDI (MUX);

S12G=>D6G   - Single Link 12G UHD-SDI => Dual Link 6G UHD-SDI (DeMUX);

 

D3G=>S6G     - Dual Link 3G-SDI (ST 425-3) => Single Link 6G UHD-SDI (MUX);

S6G=>D3G     - Single Link 6G UHD-SDI => Dual Link 3G-SDI (ST 425-3) (DeMUX);

 

Bypass SL       - пропуск входного сигнала Single Link без преобразования на 4 выхода SDI и один оптический выход;

 

Bypass DL      - пропуск входного сигнала Dual Link без преобразования на 2 выхода SDI;

 

 

Страница SW INPUT  DeMUX       - выбор входа (в режиме DeMUX Single Link) SDI IN1 или оптический RX.

 

Страница Replace lost in     - в режиме MUX Quad Link или Dual Link при потери сигнала на одном из входов IN2-IN4 происходит замещение этого входа на сигнал с входа IN1.

 

Страница Default Set           - сброс настроек в значение по умолчанию.

 

Страница PBX-GB-720       - название блока и версия программы.

 

^Наверх