Профессиональное телевизионное оборудование

 
 
 

 

Продукция по семействам

 

Продукция по категориям

 
 

Главная >  Резерваторы  >  PN-RS-738

 

Коммутаторы резерва 4K 12G SDI
PN-RS-738

 

 

Коммутатор резерва 4K 12G SDI серии PN-RS-738  (далее по тексту “резерватор”)  предназначен для резервирования 2-х сигналов 12G/6G/3G/HD/SD SDI. Комммутация сигналов происходит с подрывом. Входные сигналы не подвергаются обработке, проходят только через кабельный корректор и выходной драйвер с реклокингом.

В автоматическом режиме коммутатор выполняет выбор входа на основе анализа входных сигналов в соответствии с заданными параметрами. Переход на резервный канал выполняется по критериям: пропадания входного сигнала, не соответствия стандарта входного сигнала установленному, появления ошибок EDH/CRC, отсутствия движения на изображении (заморозка), пропадания аудио групп и уменьшения уровня звука ниже порога «молчания» в выбранных звуковых каналах. При выключении устройства или пропадании питания выполняется релейный обход по входу BYPASS IN на выход PRG OUT1/BP.

 В ручном режиме переключение канала может быть выполнено через web-интерфейс или внешними сигналами GPI (General-Purpose Input/Output).

 

 

Резерватор серии PN-RS-738 предназначен для работы в базовой конструкции модульной системы "PROFNEXT". Размещается в корпусах 1U или 3U системы "PROFNEXT" и занимает один слот в корпусе. В корпусах 1U блоки размещаются горизонтально, в корпусах 3U – вертикально.

 

Резерватор предназначен для круглосуточной работы в стационарном помещении с температурой окружающего воздуха от +5 до +45оС, относительной  влажности не более 80% при температуре 25оС, атмосферном давлении 750±30 мм рт. ст.

 

 

Функциональные возможности:

  • переключение с основного на резервный вход в автоматическом (по заданным критериям) или ручном режимах;

  • входы управления GPI и выходы TALLY;

  • определение пропадания входного сигнала;

  • определение стандарта входного сигнала;

  • детектор  ошибок EDH/CRC  за заданный интервал времени;

  • детектор  динамических изменений в видеосигнале за заданный интервал времени;

  • детектор звуковых групп, вложенных в SDI (до 4 групп);

  • детектор минимального уровня звука для 16 аудио каналов за заданный интервал времени.

 

 

Технические характеристики тракта

 

Входы:

Вход 12G/6G/3G/HD/SD SDI  MAIN IN, STBY IN:

Поддерживаемые стандарты

SMPTE 259M (SDI):

625i/50;

525i/59.94.

SMPTE 292M (HD SDI) :

1080i/50;

1080i/59. 94;

1080i/60;

1080p/23.98;

1080p/24;

1080p/25;

1080p/29. 97;

1080p/30;

720p/50 ;

720p/59. 94; 

720p/60.

SMPTE 424M/ SMPTE 425M

 (3G Level A 4:2:2):

1080p/50;

1080p/59. 94;

1080p/60.

 

SMPTE ST-2081 (6G):

2160p24/23.976, 2160p25, 2160p30/29.97. 

 

SMPTE ST-2082 (12G):

2160p50, 2160p60/59.94.

 

Разъемы

BNC

Входное сопротивление

75 Ом

Автоматическая коррекция кабеля

(Belden 1694A)

12G - до 50 м;

6G - до 80 м;

3G - до 120 м;

HD - до 150 м.

 

Вход 12G/6G/3G/HD/SD SDI  BYPASS IN:

Поддерживаемые стандарты

SMPTE 259M (SDI);

SMPTE 292M (HD SDI) ;

SMPTE 424M/ SMPTE 425M;

SMPTE ST-2081 (6G);

SMPTE ST-2082 (12G)

 

Разъемы

BNC

  

Вход управления GPI:

GPI входы

4 входа. Внешнее управление выходами резерватора
(замыкание на землю соответствующего контакта)

 

Разъём

RJ-45

 

 

 

Выходы

Выход  SDI PRG OUT1/BP, PRG OUT2:

Количество выходов

1

Разъёмы

BNC

Выходное сопротивление

75 Ом

Стандарт

соответствует входному

Выходное затухание несогласованности

не менее 12 дБ до 1.5 ГГц

Размах

800мВ±10%

Джиттер

менее 0.2UI (единичного интервала)

 

Выход управления GPI (TALLY):

TALLY выходы

Реле, “сухой контакт”,

выход NC-COM (нормально-замкнутые контакты)

выход NO-COM (нормально-разомкнутые  контакты)

Разъём

RJ-45

Макс. коммутируемый ток

1 А (Umax = 30 В)

Макс. коммутируемое напряжение

110 В (Imax = 0,3 A)

Макс. коммутируемая мощность

30 Вт

 

 

Потребляемая мощность:  не более 8 Вт.

Диапазон рабочих температур:  от 5 до 45°С.

Время непрерывной работы:  24 часа.

Габаритные размеры:  фронтальная плата 250x100 мм, задняя плата 100х110 мм.

Масса:  не более 0,4 кг.

 

 

Состав, устройство и работа преобразователя

 Общее устройство и принцип действия

Резерватор серии PN-RS-738 является устройством модульной системы "PROFNEXT" и содержит в своём составе один фронтальный (F) и один задний (R) модули системы "PROFNEXT".

 

 

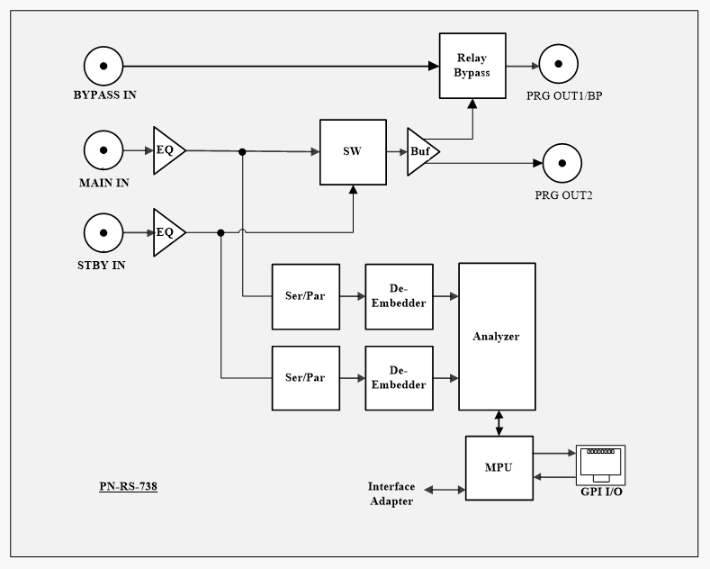
                                                                        Структурная схема преобразователя

 

Входной сигнал SDI MANE IN, STBP IN поступает на кабельный корректор (EQ), затем на SDI декодер (Ser/Par), где преобразуется в 20-разрядный поток 4:2:2.  С выхода декодера сигнал поступает на De-Embeder, где извлекаются звуковые аудио группы.

Входные видео и аудио данные подаются на блок анализа входных сигналов Analyzer.

Микроконтроллер управляет коммутатором SW, в зависимости от установленного режима работы блока и данных с выхода блока Analyzer.

При пропадании сетевого питания осуществляется прямой релейный обход с входа SDI BYPASS IN на выход SDI PRG OUT1/BP. В этом случае кабельная коррекция сигнала отсутствует.

 

        

 

Внешние разъёмы преобразователя

 

 

Индикаторы на фронтальном модуле

Индикаторы размещаются на плате фронтального модуля.

 

 

Внешний вид индикации

 

Светодиоды, расположены на печатной плате и индицируют состояние блока:

  • MAIN                – горит зеленым, если на выход резерватора проходит сигнал со входа SDI MAIN IN.

  • AUTO               – горит зеленым в режиме AUTO.

  • STBP                 – горит зеленым, если на выход резерватора проходит сигнал со входа SDI STBP IN.

  • IN MANE/STBP      – если светодиод горит зеленым - указывает на присутствие сигнала на входе SDI IN A/B и соответствии его допустимому  стандарту, желтым- наличие сигнала на входе и несоответствии его  допустимому стандарту модуля,  красным – отсутствие сигнала.

  • AUD MAIN/STBP  – зажигание светодиода индицирует наличие звуковых данных во входном сигнале, не горит – отсутствие.

 

Конструктивное исполнение

Конструктивно резерватор серии PN-RS-738  выполнен на фронтальном (PN-XXXX) и заднем (PN-XXXXR) модулях системы “PROFNEXT”, которые размещаются в корпусах 1U или 3U этой системы, и занимает один слот в корпусе.  В корпусе 1U блоки располагаются горизонтально, в корпусе 3U – вертикально.

Фронтальный модуль выполнен в виде платы размером 250х100 мм. Плата двигается по направляющим и легко извлекается с помощью рычагов, расположенных на краю платы. На фронтальном модуле размещаются также дополнительные платы (в зависимости от модификации).

Задний модуль выполнен в виде платы размером 100х110 мм,  на которой размещены входные и выходные разъемы устройства. Плата легко извлекается из корпуса после выкручивания фиксирующих винтов, крепящих плату к корпусу.

Соединение фронтального и заднего модулей осуществляется напрямую через разъем. Через поперечную кросс-плату, которая встроена внутри корпуса “PROFNEXT”, на модули поступает напряжение питания, команды управления, и два глобальных опорных синхросигнала, если они используется.

 

Установка режимов устройства серии PN-RS-738

Управление устройством выполняется от местной панели управления корзины или от ПЭВМ.

Управление устройством и его мониторинг от ПЭВМ осуществляется через модуль центрального процессора дистанционного управления, размещенного в этом же корпусе, через веб-интерфейс в полном виде (аналогично меню от местной панели управления корзины) или через программный комплекс PROFLEX3 в упрощенном виде (только статус и некоторые регулировки).

ПО “Программный пакет для мониторинга и управления модульными системами PROFLEX3” можно скачать на сайте www.profitt.ru в разделе «Поддержка» (http://www.profitt.ru/SOFT/PROFLEX3v1.zip).

Выбор возможных режимов от местной панели управления осуществляется через меню на графическом дисплее. Все меню разделено на страницы, которые могут быть информационными или установочными. Выбор страниц и изменение параметров производится нажатием кнопок со стрелочками вверх/вниз и вправо/влево. Вход в подменю или применение выбранного параметра – кнопкой ENTER. Выход на  один уровень вверх – кнопкой  ESC.

 

 

^Наверх